Excavator
OVERALL WEIGHT
47300kg
BUCKET CAPACITY
2.2m3
ENGINE POWER
280kW/2100rpm
1.Introduction:
Original imported EFI engine (in compliance with China III emission regulations), strong power, high efficiency and energy saving, reliable and durable; advanced negative flow hydraulic system, comfortable operation, high operating efficiency, excellent cost performance; full power control, size power mode to adapt to different industries ECM advanced control fuel injection, significantly reduce fuel consumption; full 3D modeling and finite element analysis technology to ensure the reliability and stability of structural parts.
2.Characteristics:
Equipped with Cummins EFI engine imported from the United States, complying with China III emission regulations, energy saving and environmental protection, high load resistance, high horsepower output, high reliability, low fuel consumption, and significantly reduced use and maintenance costs
Advanced Japanese negative flow hydraulic system with superior performance, reasonable matching, reliable quality, coordinated compound action, and high work efficiency
Intelligent electronic monitoring system, real-time monitoring, self-diagnosing fault alarm, maintenance information prompt.
Standard equipped with large bucket rock bucket, cab protection, automatic fueling system, and optional crusher, especially suitable for mine rock operations
The working device optimized for the mining environment has a more reasonable working range, greater digging force, and higher structural strength. The high-strength, high-durability integrated welded lower frame is more suitable for harsh operating environments such as mines and quarries.
The imported fan has large air volume and high efficiency, and can be equipped with an intelligent electronically controlled silicon oil clutch, which can intelligently adjust the fan speed, while meeting the cooling requirements, it is more energy efficient and low noise.
3、Overall Dimension

ITEM | UNIT | Specifications | |
JM3485LC-9C | |||
Operating weight | Kg | 47300 | |
Standard bucket capacity | m3 | 2.2(2.2~2.7) | |
Overall length | A | mm | 12035 |
Overall width(600mm track shoe) | B | mm | 3340 |
Overall height | C | mm | 3752 |
Trunable width | D | mm | 3215 |
Cabin height | E | mm | 3314 |
Groundclearance of counterweight | F | mm | 1228 |
Engine cover height | G | mm | 2862 |
Min. ground clearance | H | mm | 524 |
Tail length | I | mm | 3605 |
Turning radius of turnable | I’ | mm | 3649 |
Wheel base of track shoe | J | mm | 4470 |
Chassis length | K | mm | 5470 |
Chassis width | L | mm | 3340 |
Track shoe gauge | M | mm | 2740 |
Standard track shoe width | N | mm | 600 |
Max. traction | KN | 383 | |
Travelling speed (H/L) | Km/hr | 4.6/2.8 | |
Swing speed | rpm | 8.6 | |
Gradeability | Degree(%) | 35(70%) | |
Ground pressure | Kgf/cm2 | 0.8 | |
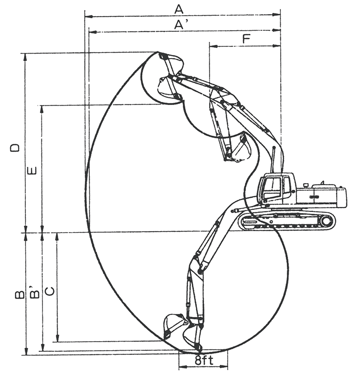
4、Working range

ITEM | 2.9mStick | |
JM3485LC-9C | ||
Maximum digging radius | A | 11757 mm |
Ground maximum digging radius | A’ | 11562mm |
Maximum digging depth | B | 7442 mm |
Ground maximum digging depth | B’ | 7283 mm |
Maximum vertical digging depth | C | 6084 mm |
Maximum digging height | D | 11173 mm |
Maximum dumping height | E | 7662 mm |
Min. front turning radius | F | 5041 mm |
Bucket digging force | ISO | 290 KN |
Stick digging force | ISO | 251 KN |
5、Engine specifications
Specifications | Model | Cummins QSM11(Ⅲ)-C375 | |
Type | 6-cylinder in-line, four-stroke turbocharger,direct injection | ||
Emission | Ⅲ National Ⅲ | ||
Cooling method | Water cooled | ||
Bore diameter × stroke | mm | 125×147 | |
Displacement | L | 5.883 | |
Rated power | 280KW(375HP)@2100rpm | ||
Max. torque | N.m | 1898N.m@1400rpm | |
Engine oil capacity | L | 31.8-40.9 | |
Rated diesel consumption | g/KW.h(rpm) | 204(1400) | |
Starter | 39MT-HD (24V-7.2KW) | ||
Generator | ee2072 |
6、主要部件配置 Main configuration
Parts | Model |
ZG3485LC-9C | |
Emission | National Ⅲ |
Engine | QSM11-C375 |
Phone